Tesla’nın öncülük ettiği elektrikli araba kesimi, son yıllarda yaşadığı önemli büyümelerle dikkat çekiyor. Birçok şirket, kendi elektrikli arabalarını piyasaya sürmek için birbirleriyle yarışırken, bir atılım de İtalyan lüks araba şirketi Ferrari’den geldi.
2025’TE YOLLARDA OLACAK
Ferrari’nin üzerinde çalıştığı elektrikli arabanın birinci olarak 2022 yılında satışa çıkması bekleniyordu.
Ancak geçtiğimiz aylarda açıklama yapan Ferrari CEO’su Louis Camilleri, batarya teknolojilerini geliştirmek için arabanın 2025 yılına ertelendiğini belirterek şu sözlere yer vermişti: ‘’Yeniden şarj etme suratı ve otonom sürüş açısından şimdi tamamlanmayan şeyler var. Bu nedenle planlarımızın kısa vadeli olmadığını hatırlatarak, elektrikli Ferrari modelini 2025 ve daha sonrasına erteledik.’’

Ferrari, 2022 yılına kadar arabalarının yüzde 60’ını hibrid olarak kullanmayı planlıyor. Şirket, daha sonra ise yavaş yavaş elektrikli araba pazarındaki yerini alarak üretime geçecek.
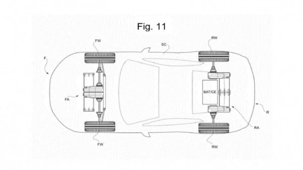
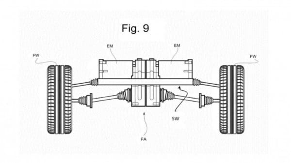
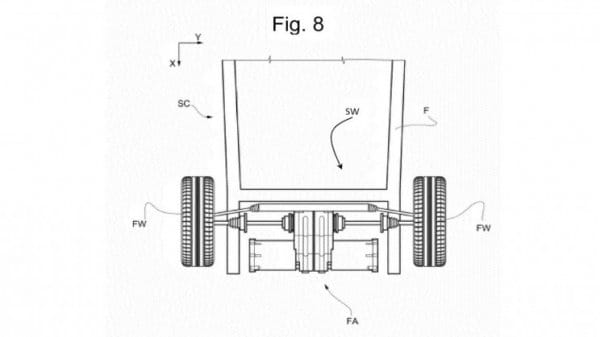
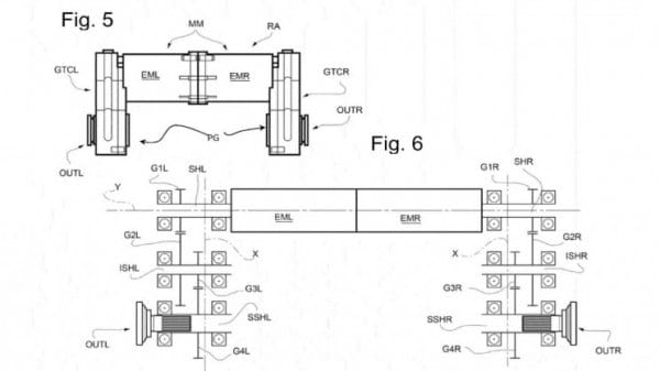
Ferrari’nin elektrikli arabası hakkında şimdi resmi olarak onaylanan bir bilgi yok. Bu nedenle şimdilik aracın sadece patent manzaralarını sizlere sunabiliyoruz:








Aşağıdaki temastan Ensonhaber Teknoloji Instagram hesabını takip ederek aktüel bilim ve teknoloji haberlerine anında ulaşın.









